摘要:最新苎麻机展现技术革新的纺织之光。这款新型机器采用先进的纺织技术,提高苎麻纤维的处理效率和品质,为纺织行业带来重大突破。其独特设计和优化性能,有效简化操作流程,提升生产效率和产品质量,为苎麻纺织领域注入新的活力。这款最新苎麻机是纺织行业技术革新的重要成果,为纺织业的发展开辟了新的道路。
自古以来,纺织技术一直是人类文明发展的重要标志之一,随着科技的飞速发展,纺织行业也在不断地进行着技术革新,苎麻,作为一种优质的天然纤维,其纺织技术更是经历了漫长而丰富的发展过程,随着最新苎麻机的诞生,苎麻纺织技术再次站在了革新的前沿。
重要事件
1、早期苎麻纺织技术的发展:
早在古代,苎麻的种植和纺织技术就已在中国等地广泛应用,随着时间的推移,苎麻纺织技术逐渐完善,成为了当地经济的重要组成部分,受限于当时的科技水平,苎麻纺织主要以手工为主,生产效率低下。
2、工业革命对苎麻纺织技术的冲击:
工业革命的到来,为纺织行业带来了机械化生产的浪潮,苎麻纺织技术也开始向机械化、自动化方向发展,在这一时期,苎麻纺织企业开始引进先进的机械设备,以提高生产效率,由于苎麻纤维的特殊性质,传统纺织机械在苎麻纺织领域的应用仍存在诸多挑战。
3、最新苎麻机的诞生:
最新苎麻机的诞生,标志着苎麻纺织技术的一次重大突破,这款新型机器在机械设计、自动化控制等方面进行了全面升级,解决了传统苎麻纺织机械存在的许多问题,最新苎麻机的出现,为苎麻纺织行业带来了前所未有的生产效率,它不仅能大大提高苎麻纺织的生产效率,还能提高苎麻制品的质量,满足消费者对高品质产品的需求,最新苎麻机的出现还推动了苎麻种植业的发展,为相关产业链带来了经济效益。
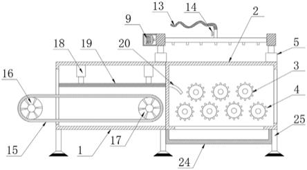
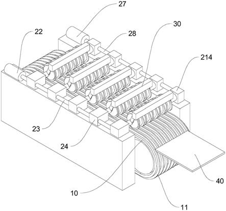
最新苎麻机的特点
最新苎麻机具有许多突出的特点,它拥有高效的生产能力,采用先进的机械设计,最新苎麻机在处理苎麻纤维时更加高效,与传统手工和机械化生产方式相比,其生产效率大幅提高,为企业降低了生产成本,最新苎麻机在纤维处理方面表现出色,它能够对苎麻纤维进行精细的梳理、开松和加工,使得纤维的质量得到显著提升,最新苎麻机还采用了先进的自动化控制系统,能够实现生产过程的自动化监控和调整,这不仅提高了生产效率,还降低了人工操作的难度和误差率,这些特点使得最新苎麻机成为现代纺织行业中的佼佼者。
影响及地位
最新苎麻机的诞生对苎麻纺织行业产生了深远的影响,它不仅大大提高了苎麻纺织的生产效率和质量降低了生产成本这使得苎麻制品更加普及满足了消费者对高品质产品的需求,同时最新苎麻机的出现还推动了苎麻种植业的发展为相关产业链带来了经济效益,在特定领域或时代中最新苎麻机的地位举足轻重随着全球环保意识的日益增强天然纤维的需求逐渐增加,苎麻作为一种优质的天然纤维其应用领域不断拓宽最新苎麻机作为先进的生产工具为苎麻纤维的加工和应用提供了有力支持推动了天然纤维产业的发展。







还没有评论,来说两句吧...